
特点
上海依耐泵阀有限公司生产的锻钢截止阀体盖连接设计形式有三种:一、体盖螺栓连接锻钢截止阀,按这种连接形式设计的阀门,其的阀体与阀盖用螺栓连接,采用缠绕式垫片密封,优点是方便在使用中的维护;二、体盖焊接连接锻钢截止阀,按这种连接形式设计的阀门,其阀体与阀盖全焊密封,优点是无外泄漏;三、是压力自紧式阀盖锻钢截止阀,按这种连接形式设计的阀门,其阀体与阀盖用螺蚊连接,内压自密封环密封,优点是内部压力越大,其密封性能越好。您可以根据实际情况合理选用我们的锻钢阀门。
设计与应用规范
1、设计制造:按ANSIB16.34; API602;BS5352
2、连接端尺寸:
(1)、承插孔尺寸按ANSIB16.11;JIS B2306
(2)、螺纹端尺寸按ANSIB1.20.1 BS21;ISO’/,;JIS BO203
3、阀门检测和试验;按API598
4、材料:按AISI/ASTM的规定
5、主要材料:AI05;F11;F22;304;304L;316;316L;LF2。。。
6、标记按MSS-SP-25
结构
1、全径或缩径
2、明杆支架式
3、自定心压板压套式
4、螺栓连接、全焊密封连接以及内压自紧式连接阀盖
5、整体式上密封座
6、阀瓣可变换为节流型、针型、球型和止回型


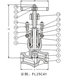
150-800Lb锻钢截止阀主要尺寸及重量
规格 |
S | L | T | W | H(开) ≈ |
重量(㎏) ≈ |
||||||||||
| 英 制 | 公制 | A N S I | J I S | ANSI牙型60゜(NPT) | JIS.ISC.SC牙型55゜(PC) | |||||||||||
| 缩径 | 全径 | 缩径 | 全径 | 缩径 | 全径 | 缩径 | 全径 | 缩径 | 全径 | 缩径 | 全径 | 缩径 | 全径 | |||
| 3/8 | 10 | 17.6 | 17.9 | 79 | 3/8 | 3/8 | 100 | 153 | 1.9 | |||||||
| 1/2 | 3/8 | 15 | 10 | 21.8 | 17.6 | 22.2 | 17.9 | 79 | 1/2 | 3/8 | 1/2 | 3/8 | 100 | 158 | 1.9 | 2.1 |
| 3/4 | 1/2 | 20 | 15 | 27.1 | 21.8 | 27.7 | 22.2 | 92 | 3/4 | 1/2 | 3/4 | 1/2 | 100 | 192 | 2.1 | 2.3 |
| 1 | 3/4 | 25 | 20 | 33.8 | 27.1 | 34.5 | 27.7 | 111 | 1 | 3/4 | 1 | 3/4 | 125 | 252 | 3.3 | 3.6 |
| 1 1/4 | 1 | 32 | 25 | 42.6 | 33.8 | 43.2 | 34.5 | 120 | 1 1/4 | 1 | 1 1/4 | 1 | 160 | 252 | 7.5 | 7.8 |
| 1 1/2 | 1 1/4 | 40 | 32 | 48.7 | 42.6 | 49.1 | 43.2 | 152 | 1 1/2 | 1 1/4 | 1 1/2 | 1 1/4 | 160 | 289 | 7.5 | 8.2 |
| 2 | 1 1/2 | 50 | 40 | 61.1 | 48.7 | 61.1 | 49.1 | 172 | 2 | 1 1/2 | 2 | 1 1/2 | 180 | 330 | 11.4 | 12.0 |
| 2 | 50 | 61.1 | 61.1 | 200 | 2 | 2 | 240 | 370 | 14.6 | 15.0 | ||||||
150-800Lb锻钢截止阀标准材质
序 号 |
零件名称 | CS to ASTM | AS to ASTM | SS to ASTM | |
| Type A105N | Type F22 | Type F304(L) | Type F316(L) | ||
| 1 | 阀 体 | A105N | A182 F22 | A182 F304(L) | A182 F316(L) |
| 2 | 阀 瓣 | A182 F430 | A182 F304 | A182 F304(L) | A182 F316(L) |
| 3 | 阀 杆 | A182 F6a | A182 F22 | A182 F304(L) | A182 F316(L) |
| 4 | 垫 片 | 304夹柔性石墨 | 316夹PTFE | ||
| 5 | 阀 盖 | A105N | A182 F22 | A182 F304(L) | A182 F316(L) |
| 6 | 阀盖螺栓 | A193 B7 | A193 B16 | A193 B8 | A193 B8M |
| 7 | 圆柱销 | A276 420 | A182F304 | ||
| 8 | 填料压套 | A276 410 | A182 F304(L) | A182 F316(L) | |
| 9 | 活节螺栓 | A193 B7 | A193 B16 | A193 B8 | A193 B8M |
| 10 | 填料压板 | A105 | A182 F11 | A182 F304(L) | A182 F316(L) |
| 11.13 | 螺 母 | A276 420 | |||
| 12 | 阀杆螺母 | A194 2H | A194 4 | A194 8 | A194 8M |
| 14 | 铭 牌 | SS | |||
| 15 | 手 轮 | A197 | |||
| 16 | 填 料 | 柔性石墨+碳素纤维PTFE | |||
| 适 用 介 质 | 水、蒸汽、油品等 | 水、蒸汽、油品等 | 硝酸、醋酸等 | ||
| 适 用 温 度 | -29℃~425℃ | -29℃~550℃ | -29℃~200℃ | ||
注意:客户需求的其他材质也可采用。密封圈材料配对由客户指定内件代号决定。 CS=碳钢;AS=合金钢;SS=不锈钢
900-1500Lb锻钢截止阀主要尺寸及重量
规格 |
S | L | T | W | H(开) ≈ |
重量(㎏) ≈ |
||||||||||
| 英 制 | 公 制 | A N S I | J I S | ANSI牙型60゜(NPT) | JIS.ISC.SC牙型55゜(PC) | |||||||||||
| 缩径 | 全径 | 缩径 | 全径 | 缩径 | 全径 | 缩径 | 全径 | 缩径 | 全径 | 缩径 | 全径 | 缩径 | 全径 | |||
| 3/8 | 10 | 17.6 | 17.9 | 92 | 3/8 | 3/8 | 100 | 171 | 2.0 | 2.2 | ||||||
| 1/2 | 3/8 | 15 | 10 | 21.8 | 17.6 | 22.2 | 17.9 | 111 | 1/2 | 3/8 | 1/2 | 3/8 | 125 | 207 | 3.4 | 3.7 |
| 3/4 | 1/2 | 20 | 15 | 27.1 | 21.8 | 27.7 | 22.2 | 111 | 3/4 | 1/2 | 3/4 | 1/2 | 125 | 207 | 3.3 | 3.6 |
| 1 | 3/4 | 25 | 20 | 33.8 | 27.1 | 34.5 | 27.7 | 120 | 1 | 3/4 | 1 | 3/4 | 160 | 240 | 6.0 | 6.8 |
| 1 1/4 | 1 | 32 | 25 | 42.6 | 33.8 | 43.2 | 34.5 | 152 | 1 1/4 | 1 | 1 1/4 | 1 | 160 | 258 | 5.6 | 7.6 |
| 1 1/2 | 1 1/4 | 40 | 32 | 48.7 | 42.6 | 49.1 | 43.2 | 172 | 1 1/2 | 1 1/4 | 1 1/2 | 1 1/4 | 180 | 300 | 10.3 | 11.6 |
| 2 | 1 1/2 | 50 | 40 | 61.1 | 48.7 | 61.1 | 49.1 | 200 | 2 | 1 1/2 | 2 | 1 1/2 | 200 | 355 | 14.2 | 15.0 |
| 2 | 50 | 61.1 | 61.1 | 220 | 2 | 2 | 240 | 370 | 18.0 | 21.9 | ||||||
900-1500Lb锻钢截止阀标准材质
序号 |
零件名称 | CS to ASTM | AS to ASTM | SS to ASTM | ||
| Type A105N | Type F22 | Type F304(L) | Type F316(L) | |||
| 1 | 阀 体 | A105N | A182 F22 | A182 F304(L) | A182 F316(L) | |
| 2 | 阀 瓣 | A182 F430 | A182 F304 | A182 F304(L) | A182 F316(L) | |
| 3 | 阀 杆 | A182 F6a | A182 F22 | A182 F304(L) | A182 F316(L) | |
| 4 | 垫 片 | 304夹柔性石墨 | 316夹PTFE | |||
| 5 | 阀 盖 | A105N | A182 F22 | A182 F304(L) | A182 F316(L) | |
| 6 | 阀盖螺栓 | A193 B7 | A193 B16 | A193 B8 | A193 B8M | |
| 7 | 圆柱销 | A276 420 | A182F304 | |||
| 8 | 填料压套 | A276 410 | A182 F304(L) | A182 F316(L) | ||
| 9 | 活节螺栓 | A193 B7 | A193 B16 | A193 B8 | A193 B8M | |
| 10 | 填料压板 | A105 | A182 F11 | A182 F304(L) | A182 F316(L) | |
| 11 | 螺 母 | A194 2H | A194 4 | A194 8 | A194 8M | |
| 12 | 阀杆螺母 | A276 420 | ||||
| 13 | 螺母 | A194 2H | A194 4 | A194 8 | A194 8M | |
| 14 | 铭 牌 | SS | ||||
| 15 | 手 轮 | A197 | ||||
| 16 | 填 料 | 柔性石墨+304丝 | PTFE | |||
| 适 用 介 质 | 水、蒸汽、油品等 | 水、蒸汽、油品等 | 硝酸、醋酸等 | |||
| 适 用 温 度 | -29℃~425℃ | -29℃~550℃ | -29℃~200℃ | |||
注意:客户需求的其他材质也可采用。密封圈材料配对由客户指定内件代号决定。 CS=碳钢;AS=合金钢;SS=不锈钢
900-2500Lb锻钢截止阀主要尺寸及重量
| 规格 | S | L | T | W | H (开) ≈ |
重量(㎏) ≈ | ||||||
| 英制 | 公制 | JNSI | JIS | 900~1500 Lb |
2500 Lb |
A N S I | ISO、BS | J I S | 900~1500 Lb |
2500 Lb |
||
| NPI牙型60 | RC牙型55 | PT牙型55 | ||||||||||
| 1/2 | 15 | 21.8 | 22.2 | 140 | 186 | 1/2 | 125 | 321 | 11.5 | 12.3 | ||
| 3/4 | 20 | 27.1 | 27.7 | 140 | 186 | 3/4 | 125 | 321 | 10.8 | 11.6 | ||
| 1 | 25 | 33.8 | 34.5 | 140 | 186 | 1 | 160 | 321 | 10.5 | 10.8 | ||
| 1 1/4 | 32 | 42.6 | 43.2 | 178 | 232 | 1 1/4 | 160 | 380 | 21.0 | 26.0 | ||
| 1 1/2 | 40 | 48.7 | 49.1 | 178 | 232 | 1 1/2 | 180 | 414 | 19.6 | 26.4 | ||
| 2 | 50 | 61.1 | 61.1 | 216 | 279 | 2 | 200 | 502 | 40.4 | 43.8 | ||
900-2500Lb锻钢截止阀标准材质
| 序 号 | 零件名称 | CS to ASTM | AS to ASTM | SS to ASTM | ||
| Type A105N | Type A182 F22 | Type A182 F304 | Type A182 F316(L) | |||
| 1 | 阀 体 | A105N | A182 F22 | A182 F304(L) | A182 F316(L) | |
| 2 | 阀 瓣 | A276 420 | A276 304 | A276 304(L) | A276 316(L) | |
| 3 | 阀 杆 | A182 F6a | A182 F304 | A182 F304(L) | A182 F316(L) | |
| 4 | 密封座 | A105 | A182 F304 | A182 F304(L) | A182 F316(L) | |
| 5 | 密封环 | 316 | A182 F304 | A182 F304(L) | F316(L) | |
| 6 | 阀盖 | A105N | A182 F22 | A182 F304(L) | A182 F316(L) | |
| 7 | 圆柱销 | A276 420 | A182F304 | |||
| 8 | 垫圈 | A105N | A182 F22 | A182 F304(L) | A182 F316(L) | |
| 9 | 提升螺母 | A194 2H | A194 4 | A194 8 | A194 8M | |
| 10 | 填料 | 柔性石墨+304丝 | 316夹PTFE | |||
| 11 | 填料压套 | A276 420 | A182 F304 | |||
| 12 | 填料压板 | A105 | A182 F304 | |||
| 13 | 活节螺栓 | A193 B7 | A193 B16 | A193 B8 | A193 B8M | |
| 14 | 螺 母 | A194 2H | A194 4 | A194 8 | A194 8M | |
| 15 | 阀杆螺母 | A276 420 | ||||
| 16 | 手轮 | A197 | ||||
| 17 | 铭 牌 | SS | ||||
| 适 用 介 质 | 水、蒸汽、油品等 | 水、蒸汽、油品等 | 硝酸、醋酸等 | |||
| 适 用 温 度 | -29℃~425℃ | -29℃~550℃ | -29℃~200℃ | |||
注意:客户需求的其他材质也可采用。密封圈材料配对由客户指定内件代号决定。 CS=碳钢;AS=合金钢;SS=不锈钢
150Lb、300Lb、600Lb锻钢法兰截止阀主要尺寸及重量


规 格 |
压力 磅级 |
L | H(开) | W | D3 | D2 | D1 | T | f | N-ф | 重量(㎏) | ||||
| 英制 | 公制 | 缩径 | 全径 | 缩径 | 全径 | 缩径 | 全径 | ||||||||
| 1/2 | 15 | 150 | 108 | 158 | 163 | 100 | 100 | 35 | 60.5 | 89 | 11.5 | 1.6 | 4-16 | 4.5 | 6.9 |
| 300 | 152 | 66.5 | 95 | 14.5 | 1.6 | 4-16 | 4.8 | 7.7 | |||||||
| 600 | 165 | 66.5 | 95 | 14.5 | 6.4 | 4-16 | 5.6 | 7.8 | |||||||
| 3/4 | 20 | 150 | 117 | 163 | 193 | 100 | 125 | 43 | 70 | 98 | 13 | 1.6 | 4-16 | 6.9 | 9.8 |
| 300 | 178 | 82.5 | 118 | 16 | 1.6 | 4-19 | 7.7 | 11.3 | |||||||
| 600 | 190 | 82.5 | 118 | 16 | 6.4 | 4-19 | 7.8 | 12.5 | |||||||
| 1 | 25 | 150 | 127 | 193 | 250 | 125 | 160 | 51 | 79.5 | 108 | 14.5 | 1.6 | 4-16 | 9.8 | 13.5 |
| 300 | 203 | 89 | 124 | 17.5 | 1.6 | 4-19 | 11 | 16.8 | |||||||
| 600 | 216 | 89 | 124 | 17.5 | 6.4 | 4-19 | 12.5 | 17.5 | |||||||
| 1 1/4 | 32 | 150 | 140 | 250 | 250 | 160 | 160 | 63 | 89 | 118 | 16 | 1.6 | 4-16 | 13.5 | 19.5 |
| 300 | 216 | 98.5 | 133 | 19.5 | 1.6 | 4-19 | 16.8 | 21.2 | |||||||
| 600 | 229 | 98.5 | 133 | 21 | 6.4 | 4-19 | 17 | 23.5 | |||||||
| 1 1/2 | 40 | 150 | 165 | 250 | 291 | 160 | 180 | 73 | 98.5 | 127 | 17.5 | 1.6 | 4-16 | 19.5 | 28.5 |
| 300 | 229 | 114.5 | 156 | 21 | 1.6 | 4-22.5 | 21.5 | 32.6 | |||||||
| 600 | 241 | 114.5 | 156 | 22.5 | 6.4 | 4-22.5 | 23.5 | 38.5 | |||||||
| 2 | 50 | 150 | 203 | 291 | 312 | 180 | 200 | 92 | 120.5 | 152 | 19.5 | 1.6 | 4-19 | 28 | 30.3 |
| 300 | 267 | 127 | 165 | 22.5 | 1.6 | 8-19 | 32.5 | 35 | |||||||
| 600 | 292 | 127 | 165 | 25.5 | 6.4 | 8-19 | 38.8 | 42.2 | |||||||
10、20、40K锻钢法兰截止阀主要尺寸及重量
| 规 格 | 压力 K级 |
L | H(开) | W | D3 | D2 | D1 | T | f | N-ф | 重量(㎏) | ||||
| 英制 | 公制 | 缩径 | 全径 | 缩径 | 全径 | 缩径 | 全径 | ||||||||
| 1/2 | 15 | 10K | 108 | 158 | 163 | 100 | 100 | 52 | 70 | 95 | 12 | 1 | 4-15 | 4.8 | 7.2 |
| 20K | 152 | 70 | 95 | 14 | 4-15 | 5.2 | 8.0 | ||||||||
| 40K | 165 | 55 | 80 | 115 | 20 | 4-19 | 7.4 | 9.8 | |||||||
| 3/4 | 20 | 10K | 117 | 163 | 193 | 100 | 125 | 58 | 75 | 100 | 14 | 1 | 4-15 | 7.2 | 10.2 |
| 20K | 178 | 75 | 100 | 16 | 4-15 | 8.0 | 12.0 | ||||||||
| 40K | 190 | 60 | 85 | 120 | 20 | 4-19 | 9.8 | 13.3 | |||||||
| 1 | 25 | 10K | 127 | 193 | 250 | 125 | 160 | 740 | 90 | 125 | 14 | 1 | 4-19 | 10.2 | 14.2 |
| 20K | 203 | 90 | 125 | 16 | 4-19 | 12.0 | 15.7 | ||||||||
| 40K | 216 | 70 | 95 | 130 | 22 | 4-19 | 13.3 | 18.5 | |||||||
| 1 1/4 | 32 | 10K | 140 | 250 | 250 | 160 | 160 | 80 | 100 | 135 | 16 | 2 | 4-19 | 14.2 | 20.0 |
| 20K | 215 | 100 | 135 | 18 | 4-19 | 15.7 | 23.0 | ||||||||
| 40K | 229 | 80 | 105 | 140 | 24 | 4-19 | 18.5 | 27.3 | |||||||
| 1 1/2 | 40 | 10K | 162 | 250 | 291 | 160 | 180 | 85 | 105 | 140 | 16 | 2 | 4-19 | 20.0 | 29.5 |
| 20K | 229 | 105 | 140 | 16 | 4-19 | 23.0 | 35.4 | ||||||||
| 40K | 241 | 960 | 120 | 160 | 24 | 4-23 | 27.3 | 38.6 | |||||||
| 2 | 50 | 10K | 178 | 291 | 312 | 180 | 200 | 100 | 120 | 155 | 16 | 2 | 4-19 | 29.5 | 30.3 |
| 20K | 267 | 120 | 155 | 18 | 8-19 | 35.4 | 36.6 | ||||||||
| 40K | 292 | 105 | 130 | 165 | 26 | 8-19 | 38.6 | 40.0 | |||||||
900-1500Lb锻钢法兰截止阀主要尺寸及重量
规格 |
L | H(开) | W | D3 | D2 | D1 | T | f | N-ф | 重量 | ||
| 英 制 | 公 制 | B.B | W.B | |||||||||
| 1/2 | 15 | 216 | 207 | 100 | 60.5 | 82.5 | 120 | 22.5 | 6.4 | 4-22 | 7.4 | 8.0 |
| 3/4 | 20 | 229 | 207 | 100 | 66.5 | 89 | 130 | 25.5 | 6.4 | 4-22 | 12.5 | 13.2 |
| 1 | 25 | 254 | 240 | 125 | 71.5 | 101.5 | 150 | 29.5 | 6.4 | 4-26 | 16.0 | 17.4 |
| 1 1/4 | 32 | 279 | 258 | 160 | 81.0 | 111.1 | 159 | 29.5 | 6.4 | 4-26 | 17.2 | 19.0 |
| 1 1/2 | 40 | 305 | 290 | 160 | 92.0 | 124 | 180 | 32.0 | 6.4 | 4-30 | 23.0 | 24.5 |
| 2 | 50 | 268 | 337 | 180 | 124.0 | 165.1 | 216 | 38.5 | 7.9 | 8-26 | 29.8 | 31.0 |
900-1500Lb锻钢法兰截止阀标准材质
序号 |
零件名称 | CS to ASTM | AS to ASTM | SS to ASTM | |
| Type A105N | Type F22 | Type F304(L) | Type F316(L) | ||
| 1 | 阀 体 | A105N | A182 F22 | A182 F304(L) | A182 F316(L) |
| 2 | 阀 瓣 | A182 F430 | A182 F304 | A182 F304(L) | A182 F316(L) |
| 3 | 阀 杆 | A182 F6a | A182 F22 | A182 F304(L) | A182 F316(L) |
| 4 | 垫 片 | 304夹柔性石墨 | 316夹PTFE | ||
| 5 | 阀 盖 | A105N | A182 F22 | A182 F304(L) | A182 F316(L) |
| 6 | 阀盖螺栓 | A193 B7 | A193 B16 | A193 B8 | A193 B8M |
| 7 | 圆柱销 | A276 420 | A182 F304 | ||
| 8 | 填料压套 | A276 410 | A182 F304(L) | A182 F316(L) | |
| 9 | 活节螺栓 | A193 B7 | A193 B16 | A193 B8 | A193 B8 |
| 10 | 填料压板 | A105N | A182 F11 | A182 F304(L) | A182 F316(L) |
| 11.13 | 螺 母 | A194 | A194 4 | A194 8 | A194 8M |
| 12 | 阀杆螺母 | A276 420 | |||
| 13 | 铭 牌 | SS | |||
| 14 | 手 轮 | A197 | |||
| 15 | 填 料 | 柔性石墨+碳素纤维PTFE | |||
| 适 用 介 质 | 水、蒸汽、油品等 | 水、蒸汽、油品等 | 硝酸、醋酸等 | ||
| 适 用 温 度 | -29℃~425℃ | -29℃~550℃ | -29℃~200℃ | ||
注意:客户需求的其他材质也可采用。密封圈材料配对由客户指定内件代号决定。 CS=碳钢;AS=合金钢;SS=不锈钢
150-600Lb锻钢对焊截止阀主要尺寸及重量
规格 |
L | W | H(开) | 重量(㎏) | |||||
| 英 制 | 公 制 | 150磅级 | 300磅级 | 600磅级 | 150磅级 | 300磅级 | 600磅级 | ||
| 1/2 | 15 | 108 | 152 | 165 | 100 | 158 | 2.3 | 2.8 | 3.4 |
| 3/4 | 20 | 117 | 178 | 190 | 100 | 192 | 3.6 | 4.0 | 4.7 |
| 1 | 25 | 127 | 203 | 216 | 125 | 252 | 7.8 | 8.5 | 9.2 |
| 1 1/4 | 32 | 140 | 216 | 229 | 160 | 252 | 8.2 | 9.2 | 10.5 |
| 1 1/2 | 40 | 165 | 229 | 241 | 160 | 289 | 12.0 | 12.6 | 13.3 |
| 2 | 50 | 203 | 267 | 292 | 180 | 330 | 15.0 | 16.8 | 18.9 |
150-600Lb锻钢对焊截止阀标准材质
序 号 |
零件名称 | CS to ASTM | AS to ASTM | SS to ASTM | ||
| Type A105N | Type A182 F22 | Type A182 F304 | Type A182 F316(L) | |||
| 1 | 阀 体 | A105N | A182 F22 | A182 F304(L) | A182 F316(L) | |
| 2 | 阀 瓣 | A276 420 | A276 304 | A276 304(L) | A276 316(L) | |
| 3 | 阀 杆 | A182 F6a | A182 F304 | A182 F304(L) | A182 F316(L) | |
| 4 | 密封座 | A105 | A182 F304 | A182 F304(L) | A182 F316(L) | |
| 5 | 密封环 | 316 | A182 F304 | A182 F304(L) | F316(L) | |
| 6 | 阀盖 | A105N | A182 F22 | A182 F304(L) | A182 F316(L) | |
| 7 | 圆柱销 | A276 420 | A182F304 | |||
| 8 | 垫圈 | A105N | A182 F22 | A182 F304(L) | A182 F316(L) | |
| 9 | 提升螺母 | A194 2H | A194 4 | A194 8 | A194 8M | |
| 10 | 填料 | 柔性石墨+304丝 | 316夹PTFE | |||
| 11 | 填料压套 | A276 420 | A182 F304 | |||
| 12 | 填料压板 | A105 | A182 F304 | |||
| 13 | 活节螺栓 | A193 B7 | A193 B16 | A193 B8 | A193 B8M | |
| 14 | 螺 母 | A194 2H | A194 4 | A194 8 | A194 8M | |
| 15 | 阀杆螺母 | A276 420 | ||||
| 16 | 手轮 | A197 | ||||
| 17 | 铭 牌 | SS | ||||
| 适 用 介 质 | 水、蒸汽、油品等 | 水、蒸汽、油品等 | 硝酸、醋酸等 | |||
| 适 用 温 度 | -29℃~425℃ | -29℃~550℃ | -29℃~200℃ | |||
注意:客户需求的其他材质也可采用。密封圈材料配对由客户指定内件代号决定。 CS=碳钢;AS=合金钢;SS=不锈钢
150-800Lb Y型锻钢截止阀主要尺寸及重量


规格 |
S | L | T | W | H(开) ≈ |
重量(㎏) ≈ |
||||||||||
| 英 制 | 公 制 | A N S I | J I S | ANSI牙型60゜(NPT) | JIS.ISC.SC牙型55゜(PC) | |||||||||||
| 缩径 | 全径 | 缩径 | 全径 | 缩径 | 全径 | 缩径 | 全径 | 缩径 | 全径 | 缩径 | 全径 | 缩径 | 全径 | |||
| 3/8 | 10 | 17.6 | 17.9 | 79 | 3/8 | 3/8 | 100 | 153 | 1.9 | |||||||
| 1/2 | 3/8 | 15 | 10 | 21.8 | 17.6 | 22.2 | 17.9 | 79 | 1/2 | 3/8 | 1/2 | 3/8 | 100 | 158 | 1.9 | 2.1 |
| 3/4 | 1/2 | 20 | 15 | 27.1 | 21.8 | 27.7 | 22.2 | 92 | 3/4 | 1/2 | 3/4 | 1/2 | 100 | 192 | 2.1 | 2.3 |
| 1 | 3/4 | 25 | 20 | 33.8 | 27.1 | 34.5 | 27.7 | 111 | 1 | 3/4 | 1 | 3/4 | 125 | 252 | 3.3 | 3.6 |
| 1 1/4 | 1 | 32 | 25 | 42.6 | 33.8 | 43.2 | 34.5 | 120 | 1 1/4 | 1 | 1 1/4 | 1 | 160 | 252 | 7.5 | 7.8 |
| 1 1/2 | 1 1/4 | 40 | 32 | 48.7 | 42.6 | 49.1 | 43.2 | 152 | 1 1/2 | 1 1/4 | 1 1/2 | 1 1/4 | 160 | 289 | 7.5 | 8.2 |
| 2 | 1 1/2 | 50 | 40 | 61.1 | 48.7 | 61.1 | 49.1 | 172 | 2 | 1 1/2 | 2 | 1 1/2 | 180 | 330 | 11.4 | 12.0 |
| 2 | 50 | 61.1 | 61.1 | 200 | 2 | 2 | 240 | 370 | 14.6 | 15.0 | ||||||
150-800Lb Y型锻钢截止阀标准材质
序 号 |
零件名称 | CS to ASTM | AS to ASTM | SS to ASTM | |
| Type A105N | Type F22 | Type F304(L) | Type F316(L) | ||
| 1 | 阀 体 | A105N | A182 F22 | A182 F304(L) | A182 F316(L) |
| 2 | 阀 瓣 | A182 F430 | A182 F304 | A182 F304(L) | A182 F316(L) |
| 3 | 阀 杆 | A182 F6a | A182 F22 | A182 F304(L) | A182 F316(L) |
| 4 | 垫 片 | 304夹柔性石墨 | 316夹PTFE | ||
| 5 | 阀 盖 | A105N | A182 F22 | A182 F304(L) | A182 F316(L) |
| 6 | 阀盖螺栓 | A193 B7 | A193 B16 | A193 B8 | A193 B8M |
| 7 | 圆柱销 | A276 420 | A182F304 | ||
| 8 | 填料压套 | A276 410 | A182 F304(L) | A182 F316(L) | |
| 9 | 活节螺栓 | A193 B7 | A193 B16 | A193 B8 | A193 B8M |
| 10 | 填料压板 | A105 | A182 F11 | A182 F304(L) | A182 F316(L) |
| 11.13 | 螺 母 | A276 420 | |||
| 12 | 阀杆螺母 | A194 2H | A194 4 | A194 8 | A194 8M |
| 14 | 铭 牌 | SS | |||
| 15 | 手 轮 | A197 | |||
| 16 | 填 料 | 柔性石墨+碳素纤维PTFE | |||
| 适 用 介 质 | 水、蒸汽、油品等 | 水、蒸汽、油品等 | 硝酸、醋酸等 | ||
| 适 用 温 度 | -29℃~425℃ | -29℃~550℃ | -29℃~200℃ | ||
注意:客户需求的其他材质也可采用。密封圈材料配对由客户指定内件代号决定。 CS=碳钢;AS=合金钢;SS=不锈钢
订购注意事项:
锻钢截止阀产品电子样本所涵盖的参数表、性能表、尺寸表、图片、文字描述等信息,仅为上海依耐锻钢截止阀说明书的一部分,供选型参考之用,详细产品说明书、以及CAD图纸、安装图、尺寸图等请来电索取。由于编辑水平有限,错误和不妥之处在所难免,真诚希望您批评指正。